全国服务热线18014531203


WFB系列无密封自控自吸泵,是填补国内空白的首创产品,该产品具有耐温耐压、“一次引流”、“终生自吸”等多种功能。目前生产321、304、 316、316L、A3、PP(增强聚丙烯)等多种材质的系列整机,五种不同造型共一千余种规格。在电子、电力、化工、冶金、医药、食品、电镀、环保、消防、市政、净水、国防军工、纺织印染、采掘选矿、民用建筑等行业中广泛适用,深受用户的好评。
1、采用“泵用连环式多面离心密封装置”,革除了传统水泵的填料密封、盘根密封、机械密封、彻底制服了“跑、冒、滴、漏”,是替代各种长轴液下泵、潜水泵等最理想的设备。
2、运行过程中密封装置不摩擦,无麿损,使用寿命较同类产品长10倍以上。
3、移植真空泵原理,自吸性能稳定可靠,特别是采用“电动空气控制阀”,真正实现了“一次引流,终生自吸”。
4、振动小,噪音低,移动灵活,拆卸简便、易于安装,不需地脚固定。
5、具有优越的自控功能,可与高科技领域和高度自动化系统配套使用。
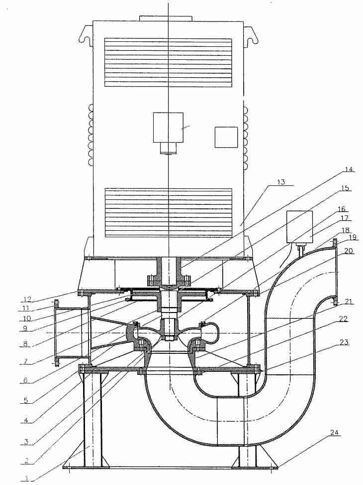
1.立柱,2.锁紧并帽,3.工作叶轮,4.泵壳连接座,5.蜗壳,6.泵轴,7.锁紧并帽,8.密封轮盖板,9.密封座,10.密封叶轮,11.泵壳出口法兰,12.支架,13.电机,14.联轴器,15.垫片A,16.垫片B,17.电动空气阀,18.耐磨环,19.泵壳进口法兰,20.泵体,21.锥体,22.泵壳吸口法兰,23.泵壳连接板,24.底板。
50WFB-AD1
50——泵进口口径(mm)
WFB——无密封自控自吸泵
AD1——性能分类
水泵的法兰采用中华人民共和国国家标准制造。标准代号GB9115.2-88;GB9115.3-88。非金属材质水泵的法兰压力0.6MPa;金属材质水泵的法兰压力1.0MPa。本公司水泵出厂时,进出液口配一只反法兰。
|
材质代号
material code |
型号
type |
转速
speed |
流量 Q
capacity |
扬程
head |
配套功率
matching power |
允许吸深
permissible suctioned depth |
吸液口径
diameter of inlet |
出液口径
diameter of outler |
整机重量
weight |
|
r/min
|
m3/h
|
M
|
kw
|
≤M
|
MM
|
MM
|
kg
|
||
|
T.G.PP.BXG
|
16WFB-A
|
2900
|
0.75
|
8
|
0.75
|
2.5
|
16
|
10
|
75
|
|
1.1
|
6.5
|
||||||||
|
1.5
|
5.5
|
||||||||
| T.G.PP.BXG |
32WFB-A
|
2900
|
4.5
|
13
|
1.5
|
3
|
32
|
25
|
99
|
|
6.5
|
10.5
|
||||||||
|
9
|
8
|
||||||||
| T.G.PP.BXG |
40WFB-A
|
2900
|
6.5
|
25
|
4
|
4
|
40
|
32
|
140
|
|
8.5
|
23
|
||||||||
|
10
|
21
|
||||||||
| T.G.PP.BXG |
40WFB-A1
|
2900
|
13.5
|
18
|
3
|
4
|
40
|
32
|
140
|
|
5
|
15
|
||||||||
|
8
|
13
|
||||||||
|
T.G.PP.BXG
|
40WFB-A2
|
2900
|
10
|
11
|
2.2
|
4
|
40
|
32
|
125
|
|
14
|
8
|
||||||||
|
T.G.PP.BXG
|
50WFB-A
|
2900
|
7.5
|
28
|
5.5
|
5
|
50
|
40
|
205
|
|
12.5
|
26
|
||||||||
|
15
|
24.5
|
||||||||
|
T.G.PP.BXG
|
50WFB-A1
|
2900
|
10.5
|
20.5
|
3
|
5
|
50
|
40
|
170
|
|
T.G.PP.BXG
|
50WFB-AD
|
1450
|
5
|
11
|
1.5
|
4
|
50
|
40
|
149
|
|
6.3
|
10
|
||||||||
|
7.5
|
9
|
||||||||
|
T.G.PP.BXG
|
50WFB-AD1
|
1450
|
10
|
6
|
1.5
|
4
|
50
|
40
|
149
|
|
T.G.BXG
|
50WFB-B
|
2900
|
10
|
40
|
11
|
5
|
50
|
40
|
215
|
|
11
|
38
|
||||||||
|
15
|
35
|
||||||||
|
T.G.PP.BXG
|
50WFB-B1
|
2900
|
7
|
33
|
7.5
|
5
|
50
|
40
|
205
|
|
12
|
31
|
||||||||
|
15
|
29
|
||||||||
|
T.G.PP.BXG
|
50WFB-B2
|
2900
|
10
|
26.5
|
4
|
5
|
50
|
40
|
185
|
|
T.G.PP.BXG
|
50WFB-B3
|
2900
|
5
|
15
|
2.2
|
4
|
50
|
40
|
150
|
|
6.4
|
14
|
||||||||
|
7.5
|
12.5
|
||||||||
|
T.G.BXG
|
50WFB-C
|
2900
|
8.5
|
58
|
15
|
5
|
50
|
40
|
240
|
|
12
|
56
|
||||||||
|
15
|
54
|
||||||||
|
T.G.BXG
|
50WFB-C1
|
2900
|
11
|
46
|
7.5
|
5
|
50
|
40
|
215
|
|
10
|
40
|
||||||||
|
T.G.PP.BXG
|
50WFB-CD
|
1450
|
5
|
19
|
3
|
4
|
50
|
40
|
170
|
|
6
|
18
|
||||||||
|
8
|
17
|
||||||||
|
T.G.BXG
|
50WFB-E
|
2900
|
7.5
|
82
|
22
|
5
|
50
|
40
|
260
|
|
12
|
80
|
||||||||
|
15
|
75
|
||||||||
|
T.G.BXG
|
50WFB-E1
|
2900
|
12
|
68
|
18.5
|
5
|
50
|
40
|
250
|
|
11
|
62
|
||||||||
|
10
|
55
|
||||||||
|
T.G.PP.BXG
|
50WFB-E2
|
2900
|
3.5
|
26
|
3
|
4
|
50
|
40
|
170
|
|
T.G.PP.BXG
|
65WFB-A
|
2900
|
15
|
27
|
7.5
|
4
|
65
|
50
|
260
|
|
20
|
26
|
||||||||
|
25
|
24
|
||||||||
|
T.G.PP.BXG
|
65WFB-A1
|
2900
|
21
|
20
|
5.5
|
4
|
65
|
50
|
260
|
|
T.G.PP.BXG
|
65WFB-AD
|
1450
|
7
|
12
|
3
|
4
|
65
|
50
|
200
|
|
12
|
11
|
||||||||
|
15
|
9
|
||||||||
|
T.G.BXG
|
65WFB-B
|
2900
|
15
|
41
|
11
|
5
|
65
|
50
|
270
|
|
25
|
38
|
||||||||
|
30
|
36
|
||||||||
|
T.G.PP.BXG
|
65WFB-B1
|
2900
|
20
|
26
|
7.5
|
5
|
65
|
50
|
250
|
|
T.G.PP.BXG
|
65WFB-BD
|
1450
|
10
|
16
|
4
|
5
|
65
|
50
|
230
|
|
12
|
14
|
||||||||
|
15
|
13
|
||||||||
|
T.G.BXG
|
65WFB-C
|
2900
|
15
|
58
|
18.5
|
5
|
65
|
50
|
280
|
|
25
|
56
|
||||||||
|
30
|
52
|
||||||||
|
T.G.BXG
|
65WFB-C1
|
2900
|
22
|
45
|
15
|
5
|
65
|
50
|
265
|
|
T.G.PP.BXG
|
65WFB-C2
|
2900
|
7.5
|
19
|
4
|
5
|
65
|
50
|
240
|
|
12.5
|
18
|
||||||||
|
15
|
17
|
||||||||
|
T.G.BXG
|
65WFB-E
|
2900
|
15
|
82
|
30
|
5
|
65
|
50
|
450
|
|
25
|
80
|
||||||||
|
30
|
78
|
||||||||
|
T.G.BXG
|
65WFB-E1
|
2900
|
21
|
64
|
18.5
|
5
|
65
|
50
|
340
|
|
20
|
55
|
||||||||
|
T.G.PP.BXG
|
65WFB-E2
|
2900
|
7.5
|
27.5
|
7.5
|
5
|
65
|
50
|
280
|
|
12.5
|
26
|
||||||||
|
15
|
24.5
|
||||||||
|
T.G.BXG
|
65WFB-F
|
2900
|
15
|
127
|
45
|
5
|
65
|
50
|
485
|
|
25
|
125
|
||||||||
|
30
|
123
|
||||||||
|
T.G.BXG
|
65WFB-F1
|
2900
|
18
|
108
|
45
|
5
|
65
|
50
|
485
|
|
21.5
|
95
|
||||||||
|
23.5
|
85
|
||||||||
|
T.G.BXG
|
65WFB-F2
|
2900
|
7.5
|
38
|
7.5
|
5
|
65
|
50
|
270
|
|
12.5
|
37
|
||||||||
|
15
|
36
|
||||||||
|
T.G.BXG
|
65WFB-F3
|
2900
|
10
|
34
|
5.5
|
5
|
65
|
50
|
260
|
|
9
|
30
|
||||||||
|
8
|
26
|
||||||||
|
T.G.PP.BXG
|
80WFB-A
|
2900
|
30
|
28
|
11
|
6
|
80
|
65
|
380
|
|
50
|
26
|
||||||||
|
60
|
24
|
||||||||
|
70
|
20
|
||||||||
|
T.G.PP.BXG
|
80WFB-AD
|
2900
|
15
|
11.5
|
4
|
4
|
80
|
65
|
305
|
|
25
|
11
|
||||||||
|
30
|
10.5
|
||||||||
|
38
|
9
|
|
材质代号
material code |
型号
type |
转速
speed |
流量 Q
capacity |
扬程
head |
配套功率
matching power |
允许吸深
permissible suctioned depth |
吸液口径
diameter of inlet |
出液口径
diameter of outler |
整机重量
weight |
|
r/min
|
m3/h
|
M
|
kw
|
≤M
|
MM
|
MM
|
kg
|
||
|
T.G.BXG
|
80WFB-B
|
2900
|
40
|
40
|
15
|
5
|
80
|
65
|
395
|
|
50
|
38
|
||||||||
|
60
|
35
|
||||||||
|
65
|
28
|
||||||||
|
T.G.PP.BXG
|
80WFB-BD
|
1450
|
15
|
15
|
5.5
|
5
|
80
|
65
|
340
|
|
25
|
14
|
||||||||
|
30
|
13
|
||||||||
|
35
|
11
|
||||||||
|
T.G.BXG
|
80WFB-C
|
2900
|
30
|
59
|
22
|
5
|
80
|
65
|
460
|
|
50
|
55
|
||||||||
|
60
|
52
|
||||||||
|
T.G.BXG
|
80WFB-C1
|
2900
|
45
|
46
|
15
|
5
|
80
|
65
|
400
|
|
40
|
38
|
||||||||
|
T.G.PP.BXG
|
80WFB-C2
|
2900
|
15
|
19
|
7.5
|
5
|
80
|
65
|
320
|
|
25
|
18
|
||||||||
|
30
|
17
|
||||||||
|
T.G.PP.BXG
|
80WFB-CD
|
1450
|
21
|
14
|
5.5
|
5
|
80
|
65
|
340
|
|
25
|
12
|
||||||||
|
T.G.BXG
|
80WFB-E
|
2900
|
30
|
84
|
37
|
5
|
80
|
65
|
480
|
|
50
|
80
|
||||||||
|
60
|
76
|
||||||||
|
T.G.BXG
|
80WFB-E1
|
2900
|
30
|
60
|
18.5
|
5
|
80
|
65
|
400
|
|
40
|
50
|
||||||||
|
T.G.PP.BXG
|
80WFB-E2
|
2900
|
15
|
27
|
11
|
5
|
80
|
65
|
380
|
|
25
|
26
|
||||||||
|
30
|
24
|
||||||||
|
T.G.PP.BXG
|
80WFB-E3
|
2900
|
22
|
22
|
5.5
|
5
|
80
|
65
|
300
|
|
20
|
18
|
||||||||
|
T.G.BXG
|
80WFB-F
|
2900
|
30
|
128
|
55
|
5
|
80
|
65
|
580
|
|
50
|
125
|
||||||||
|
60
|
120
|
||||||||
|
T.G.BXG
|
80WFB-F1
|
2900
|
26
|
103
|
45
|
5
|
80
|
65
|
530
|
|
30
|
95
|
||||||||
|
40
|
80
|
||||||||
|
T.G.BXG
|
80WFB-F2
|
2900
|
15
|
38
|
11
|
5
|
80
|
65
|
380
|
|
25
|
36
|
||||||||
|
30
|
35
|
||||||||
|
T.G.BXG
|
80WFB-F3
|
2900
|
21
|
34
|
11
|
5
|
80
|
65
|
380
|
|
23
|
30
|
||||||||
|
26
|
26
|
||||||||
|
T.G.PP.BXG
|
100WFB-A
|
2900
|
60
|
30
|
18.5
|
5
|
100
|
80
|
560
|
|
100
|
26
|
||||||||
|
110
|
22
|
||||||||
|
120
|
20
|
||||||||
|
T.G.PP.BXG
|
100WFB-AD
|
1450
|
30
|
12
|
7.5
|
5
|
100
|
80
|
450
|
|
40
|
11
|
||||||||
|
50
|
10
|
||||||||
|
60
|
9
|
||||||||
|
T.G.BXG
|
100WFB-B
|
2900
|
60
|
40
|
22
|
5
|
100
|
80
|
580
|
|
80
|
36
|
||||||||
|
100
|
32
|
||||||||
|
120
|
28
|
||||||||
|
T.G.PP.BXG
|
100WFB-BD
|
1450
|
30
|
15
|
11
|
5
|
100
|
80
|
520
|
|
40
|
14
|
||||||||
|
50
|
13
|
||||||||
|
68
|
11
|
||||||||
|
T.G.BXG
|
100WFB-C
|
2900
|
45
|
55
|
37
|
5
|
100
|
80
|
630
|
|
80
|
48
|
||||||||
|
100
|
45
|
||||||||
|
T.G.BXG
|
100WFB-C1
|
2900
|
75
|
40
|
30
|
5
|
100
|
80
|
605
|
|
85
|
35
|
||||||||
|
T.G.BXG
|
100WFB-C2
|
2900
|
40
|
20
|
11
|
5
|
100
|
80
|
520
|
|
50
|
19
|
||||||||
|
60
|
18
|
||||||||
|
T.G.BXG
|
100WFB-C3
|
2900
|
40
|
16
|
7.5
|
5
|
100
|
80
|
500
|
|
45
|
15
|
||||||||
|
T.G.BXG
|
100WFB-E
|
2900
|
60
|
87
|
55
|
5
|
100
|
80
|
720
|
|
80
|
80
|
||||||||
|
100
|
75
|
||||||||
|
T.G.BXG
|
100WFB-E1
|
2900
|
80
|
60
|
45
|
5
|
100
|
80
|
680
|
|
100
|
51
|
||||||||
|
T.G.PP.BXG
|
100WFB-E2
|
2900
|
30
|
26
|
11
|
5
|
100
|
80
|
530
|
|
50
|
25
|
||||||||
|
55
|
24
|
||||||||
|
T.G.PP.BXG
|
100WFB-E3
|
2900
|
62
|
22
|
11
|
5
|
100
|
80
|
530
|
|
58
|
18
|
||||||||
|
T.G.BXG
|
100WFB-F
|
2900
|
60
|
133
|
90
|
5
|
100
|
80
|
965
|
|
80
|
125
|
||||||||
|
100
|
120
|
||||||||
|
T.G.BXG
|
100WFB-F1
|
2900
|
80
|
108
|
75
|
5
|
100
|
80
|
820
|
|
90
|
90
|
||||||||
|
100
|
80
|
||||||||
|
T.G.BXG
|
100WFB-F2
|
2900
|
30
|
40
|
15
|
5
|
100
|
80
|
550
|
|
50
|
38
|
||||||||
|
60
|
36
|
||||||||
|
T.G.PP.BXG
|
100WFB-F3
|
2900
|
46
|
23
|
11
|
5
|
100
|
80
|
530
|
|
43
|
29
|
||||||||
|
40
|
26
|
||||||||
|
T.G.BXG
|
125WFB-A
|
2900
|
100
|
55
|
55
|
5
|
125
|
100
|
900
|
|
150
|
50
|
||||||||
|
180
|
45
|
||||||||
|
T.G.BXG
|
125WFB-A1
|
2900
|
170
|
40
|
45
|
5
|
125
|
100
|
860
|
|
185
|
30
|
||||||||
|
T.G.PP.BXG
|
125WFB-A2
|
2900
|
70
|
20
|
15
|
5
|
125
|
100
|
720
|
|
80
|
19
|
||||||||
|
100
|
17
|
||||||||
|
T.G.PP.BXG
|
125WFB-AD
|
1450
|
105
|
16
|
15
|
5
|
125
|
100
|
740
|
|
110
|
15
|
|
材质代号
material code |
型号
type |
转速
speed |
流量 Q
capacity |
扬程
head |
配套功率
matching power |
允许吸深
permissible suctioned depth |
吸液口径
diameter of inlet |
出液口径
diameter of outler |
整机重量
weight |
|
r/min
|
m3/h
|
M
|
kw
|
≤M
|
MM
|
MM
|
kg
|
||
|
T.G.BXG
|
125WFB-B
|
2900
|
120
|
86
|
110
|
5
|
125
|
100
|
1150
|
|
200
|
80
|
||||||||
|
240
|
72
|
||||||||
|
T.G.BXG
|
125WFB-B1
|
2900
|
150
|
65
|
75
|
5
|
125
|
100
|
1005
|
|
170
|
60
|
||||||||
|
T.G.PP.BXG
|
125WFB-B2
|
2900
|
80
|
26
|
22
|
5
|
125
|
100
|
760
|
|
100
|
25
|
||||||||
|
120
|
24
|
||||||||
|
T.G.PP.BXG
|
125WFB-B3
|
2900
|
85
|
22
|
18.5
|
5
|
125
|
100
|
730
|
|
90
|
20
|
||||||||
|
T.G.BXG
|
125WFB-C
|
2900
|
160
|
132
|
160
|
5
|
125
|
100
|
1580
|
|
180
|
125
|
||||||||
|
200
|
120
|
||||||||
|
T.G.BXG
|
125WFB-C1
|
2900
|
180
|
108
|
110
|
5
|
125
|
100
|
1270
|
|
190
|
93
|
||||||||
|
208
|
80
|
||||||||
|
T.G.BXG
|
125WFB-C2
|
2900
|
80
|
40
|
30
|
5
|
125
|
100
|
790
|
|
100
|
38
|
||||||||
|
120
|
36.5
|
||||||||
|
T.G.PP.BXG
|
125WFB-C3
|
2900
|
92
|
23
|
18.5
|
5
|
125
|
100
|
750
|
|
85
|
26
|
||||||||
|
80
|
29
|
||||||||
|
T.G.BXG
|
125WFB-E
|
2900
|
70
|
52
|
37
|
5
|
125
|
100
|
820
|
|
90
|
50
|
||||||||
|
110
|
48
|
||||||||
|
T.G.BXG
|
125WFB-E1
|
2900
|
90
|
45
|
30
|
5
|
125
|
100
|
790
|
|
95
|
40
|
||||||||
|
T.G.BXG
|
125WFB-E2
|
2900
|
85
|
36
|
22
|
5
|
125
|
100
|
770
|
|
T.G.BXG
|
150WFB-A
|
2900
|
120
|
28
|
30
|
5
|
150
|
125
|
990
|
|
185
|
26
|
||||||||
|
200
|
23.5
|
||||||||
|
240
|
22.5
|
||||||||
|
T.G.BXG
|
150WFB-AD
|
1450
|
160
|
20
|
22
|
5
|
150
|
125
|
960
|
|
T.G.BXG
|
150WFB-B
|
2900
|
156
|
40
|
45
|
5
|
150
|
125
|
1060
|
|
180
|
36
|
||||||||
|
225
|
30
|
||||||||
|
T.G.BXG
|
150WFB-BD
|
1450
|
220
|
29
|
45
|
5
|
150
|
125
|
1080
|
|
260
|
25
|
||||||||
|
T.G.BXG
|
150WFB-B1
|
2900
|
160
|
34
|
37
|
5
|
150
|
125
|
1020
|
|
180
|
29
|
||||||||
|
195
|
26
|
||||||||
|
T.G.BXG
|
150WFB-BD1
|
1450
|
120
|
55
|
75
|
5
|
150
|
125
|
1205
|
|
200
|
50
|
||||||||
|
240
|
45
|
||||||||
|
T.G.BXG
|
150WFB-C
|
2900
|
180
|
45
|
55
|
5
|
150
|
125
|
1100
|
|
190
|
38
|
||||||||
|
T.G.BXG
|
150WFB-C1
|
2900
|
165
|
36
|
37
|
5
|
150
|
125
|
1020
|
|
T.G.BXG
|
200WFB-AD
|
1450
|
250
|
26.5
|
55
|
5
|
200
|
150
|
145
|
|
400
|
25
|
||||||||
|
450
|
23.5
|
||||||||
|
T.G.BXG
|
200WFB-AD1
|
1450
|
360
|
22
|
45
|
5
|
200
|
150
|
1375
|
|
T.G.BXG
|
200WFB-AD2
|
1450
|
330
|
19
|
37
|
5
|
200
|
150
|
1335
|
|
T.G.BXG
|
200WFB-BD
|
1450
|
240
|
42
|
75
|
5
|
200
|
150
|
1520
|
|
350
|
37
|
||||||||
|
420
|
33.5
|
||||||||
|
T.G.BXG
|
200WFB-BD1
|
1450
|
340
|
28.5
|
55
|
5
|
200
|
150
|
1415
|
|
T.G.BXG
|
200WFB-BD2
|
1450
|
310
|
25
|
45
|
5
|
200
|
150
|
1375
|
|
380
|
18
|
||||||||
|
450
|
13
|
||||||||
|
520
|
10
|
||||||||
|
T.G.BXG
|
200WFB-CD
|
1450
|
280
|
55
|
110
|
5
|
200
|
150
|
1790
|
|
380
|
50
|
||||||||
|
420
|
45
|
||||||||
|
T.G.BXG
|
200WFB-CD1
|
1450
|
360
|
45
|
90
|
5
|
200
|
150
|
1660
|
|
T.G.BXG
|
200WFB-CD2
|
1450
|
330
|
40
|
75
|
5
|
200
|
150
|
1520
|
|
350
|
36
|
||||||||
|
T.G.BXG
|
250WFB-AD
|
1450
|
300
|
26.5
|
55
|
5
|
250
|
200
|
1556
|
|
380
|
25
|
||||||||
|
500
|
23.5
|
||||||||
|
T.G.BXG
|
250WFB-AD1
|
1450
|
600
|
13
|
45
|
5
|
250
|
200
|
1450
|
|
880
|
8
|
||||||||
|
T.G.BXG
|
250WFB-AD2
|
1450
|
340
|
35
|
75
|
5
|
250
|
200
|
1660
|
|
400
|
33
|
||||||||
|
450
|
31
|
||||||||
|
T.G.BXG
|
250WFB-AD3
|
1450
|
500
|
28.5
|
75
|
5
|
250
|
200
|
1660
|
|
600
|
22.5
|
||||||||
|
720
|
18
|
||||||||
|
T.G.BXG
|
250WFB-BD
|
1450
|
350
|
45
|
90
|
5
|
250
|
200
|
1800
|
|
380
|
40
|
||||||||
|
450
|
37
|
||||||||
|
T.G.BXG
|
250WFB-BD1
|
1450
|
300
|
50
|
90
|
5
|
250
|
200
|
1800
|
|
350
|
47
|
||||||||
|
380
|
45
|
||||||||
|
T.G.BXG
|
250WFB-BD2
|
1450
|
200
|
57.5
|
90
|
5
|
250
|
200
|
1800
|
|
260
|
55
|
||||||||
|
290
|
52.5
|
||||||||
|
T.G.BXG
|
250WFB-BD3
|
1450
|
480
|
30
|
90
|
5
|
250
|
200
|
1800
|
|
628
|
24.5
|
||||||||
|
800
|
20
|
||||||||
|
T.G.BXG
|
300WFB-AD
|
1450
|
500
|
26.5
|
90
|
5
|
300
|
250
|
1880
|
|
550
|
25
|
||||||||
|
600
|
23.5
|
||||||||
|
T.G.BXG
|
300WFB-AD1
|
1450
|
400
|
42
|
90
|
5
|
300
|
250
|
1988
|
|
420
|
35
|
||||||||
|
460
|
33
|
||||||||
|
500
|
31
|
||||||||
|
T.G.BXG
|
300WFB-AD2
|
1450
|
750
|
30
|
132
|
5
|
300
|
250
|
2058
|
|
960
|
25
|
||||||||
|
1255
|
18
|
|
材质代号
material code |
型号
type |
转速
speed |
流量 Q
capacity |
扬程
head |
配套功率
matching power |
允许吸深
permissible suctioned depth |
吸液口径
diameter of inlet |
出液口径
diameter of outler |
整机重量
weight |
|
r/min
|
m3/h
|
M
|
kw
|
≤M
|
MM
|
MM
|
kg
|
||
|
T.G.BXG
|
300WFB-AD3
|
1450
|
350
|
50
|
110
|
5
|
300
|
250
|
2280
|
|
400
|
47.5
|
||||||||
|
450
|
45
|
||||||||
|
T.G.BXG
|
300WFB-BD
|
1450
|
250
|
57.5
|
110
|
5
|
300
|
250
|
2280
|
|
320
|
55
|
||||||||
|
345
|
52.5
|
||||||||
|
T.G.BXG
|
300WFB-BD1
|
1450
|
678
|
55
|
200
|
5
|
300
|
250
|
2480
|
|
780
|
47.5
|
||||||||
|
T.G.BXG
|
300WFB-BD2
|
1450
|
900
|
30
|
160
|
5
|
300
|
250
|
2388
|
|
740
|
40
|
||||||||
|
590
|
50
|
||||||||
|
T.G.BXG
|
300WFB-BD3
|
1450
|
600
|
57
|
185
|
5
|
300
|
250
|
2400
|
|
750
|
45
|
||||||||
|
850
|
40
|
||||||||
|
978
|
35
|
||||||||
|
T.G.BXG
|
300WFB-CD
|
1450
|
860
|
42.5
|
200
|
5
|
300
|
250
|
2480
|
|
T.G.BXG
|
300WFB-CD1
|
1450
|
700
|
57.5
|
220
|
5
|
300
|
250
|
2508
|
|
780
|
52
|
||||||||
|
890
|
45
|
||||||||
|
T.G.BXG
|
350WFB-AD
|
1450
|
550
|
56.5
|
90
|
5
|
350
|
300
|
2500
|
|
600
|
25
|
||||||||
|
790
|
23.5
|
||||||||
|
T.G.BXG
|
350WFB-AD1
|
1450
|
580
|
35
|
145
|
5
|
350
|
300
|
2780
|
|
690
|
33
|
||||||||
|
820
|
31
|
||||||||
|
T.G.BXG
|
350WFB-AD2
|
1450
|
450
|
42.5
|
110
|
5
|
350
|
300
|
2630
|
|
500
|
40
|
||||||||
|
550
|
37.5
|
||||||||
|
T.G.BXG
|
350WFB-AD3
|
1450
|
500
|
50
|
145
|
5
|
350
|
300
|
2785
|
|
535
|
47.5
|
||||||||
|
590
|
45
|
||||||||
|
T.G.BXG
|
350WFB-BD
|
1450
|
306
|
57.5
|
110
|
5
|
350
|
300
|
2630
|
|
356
|
55
|
||||||||
|
400
|
52
|
||||||||
|
T.G.BXG
|
350WFB-BD1
|
1450
|
840
|
55
|
250
|
5
|
350
|
300
|
2785
|
|
950
|
48
|
||||||||
|
1200
|
40
|
||||||||
|
T.G.BXG
|
350WFB-BD2
|
1450
|
886
|
57.5
|
280
|
5
|
350
|
300
|
3088
|
|
980
|
52.5
|
||||||||
|
1186
|
45
|
||||||||
|
T.G.BXG
|
350WFB-BD3
|
1450
|
860
|
42
|
200
|
5
|
350
|
300
|
2508
|
|
1050
|
35
|
||||||||
|
1180
|
32
|
||||||||
|
T.G.BXG
|
350WFB-CD
|
1450
|
1200
|
35
|
220
|
5
|
350
|
300
|
2688
|
|
1320
|
32
|
||||||||
|
T.G.BXG
|
350WFB-CD1
|
1450
|
1156
|
40
|
250
|
5
|
350
|
300
|
2886
|
|
1280
|
35
|
||||||||
|
T.G.BXG
|
350WFB-CD2
|
1450
|
1128
|
45
|
280
|
5
|
350
|
300
|
3080
|
|
1050
|
50
|
||||||||
|
T.G.BXG
|
350WFB-CD3
|
1450
|
1000
|
57.5
|
315
|
5
|
350
|
300
|
3285
|
|
1200
|
50
|
||||||||
|
T.G.BXG
|
350WFB-ED
|
1450
|
900
|
30
|
160
|
5
|
350
|
300
|
2380
|
|
1096
|
25
|
||||||||
|
T.G.BXG
|
350WFB-ED1
|
1450
|
1140
|
30
|
200
|
5
|
350
|
300
|
2600
|
|
1370
|
25
|
||||||||
|
T.G.BXG
|
400WFB-AD
|
1450
|
1850
|
15
|
160
|
5
|
400
|
350
|
2860
|
|
1520
|
18
|
||||||||
|
1450
|
20
|
||||||||
|
T.G.BXG
|
400WFB-AD1
|
1450
|
1680
|
10
|
90
|
5
|
400
|
350
|
2150
|
|
T.G.BXG
|
400WFB-AD2
|
1450
|
1600
|
8
|
75
|
5
|
400
|
350
|
1800
|
|
T.G.BXG
|
400WFB-AD3
|
1450
|
2050
|
5
|
55
|
5
|
400
|
350
|
1750
|
|
T.G.BXG
|
400WFB-BD
|
1450
|
1700
|
20
|
185
|
5
|
400
|
350
|
2500
|
|
2085
|
15
|
||||||||
|
T.G.BXG
|
400WFB-BD1
|
1450
|
1600
|
22.5
|
200
|
5
|
400
|
350
|
2650
|
|
2000
|
18
|
||||||||
|
T.G.BXG
|
400WFB-BD2
|
1450
|
2226
|
20
|
250
|
5
|
400
|
350
|
2880
|
|
1880
|
25
|
||||||||
|
T.G.BXG
|
400WFB-BD3
|
1450
|
1700
|
30
|
280
|
5
|
400
|
350
|
2980
|
|
2506
|
20
|
||||||||
|
T.G.BXG
|
400WFB-CD
|
1450
|
2308
|
8
|
110
|
5
|
400
|
350
|
2650
|
|
T.G.BXG
|
400WFB-CD1
|
1450
|
1880
|
12
|
132
|
5
|
400
|
350
|
2750
|
|
T.G.BXG
|
400WFB-CD2
|
1450
|
2280
|
12
|
160
|
5
|
400
|
350
|
2860
|
|
T.G.BXG
|
400WFB-CD3
|
1450
|
1905
|
18
|
200
|
5
|
400
|
350
|
2850
|
|
T.G.BXG
|
450WFB-AD
|
1450
|
1650
|
35
|
315
|
5
|
450
|
400
|
3250
|
|
2880
|
20
|
||||||||
|
T.G.BXG
|
450WFB-AD1
|
1450
|
2890
|
5
|
90
|
5
|
450
|
400
|
2650
|
|
T.G.BXG
|
450WFB-BD
|
1450
|
2825
|
8
|
132
|
5
|
450
|
400
|
2880
|
|
T.G.BXG
|
450WFB-BD1
|
1450
|
2825
|
12
|
200
|
5
|
450
|
400
|
2968
|
|
T.G.BXG
|
600WFB-AD
|
1450
|
3400
|
8
|
160
|
5
|
600
|
450
|
3080
|
|
T.G.BXG
|
600WFB-BD
|
1450
|
4280
|
8
|
200
|
5
|
600
|
450
|
3080
|
|
T.G.BXG
|
600WFB-CD
|
1450
|
4020
|
5
|
110
|
5
|
600
|
450
|
2850
|
|
T.G.BXG
|
800WFB-AD
|
1450
|
4520
|
5
|
132
|
5
|
800
|
600
|
3280
|
|
5480
|
5
|
||||||||
|
T.G.BXG
|
800WFB-CD
|
1450
|
6850
|
5
|
200
|
5
|
800
|
600
|
3380
|
江苏亚安泵业有限公司 版权所有 地址:靖江市新桥镇工业园区 网址:www.jsyaby.com
联系人:陈先生 手机:18014531203 QQ:100818272 邮箱:100818272@qq.com
备案号:苏ICP备18053810号-1